|
PROBLEMS COVERED
- Fridge Doors Not Closing
- Freezer Door Not Closing
- Adjust the Refrigerator Doors
- Remove the Refrigerator Door Handles
- Center Hinged Flap on The Refrigerator Door Does Not Close Properly
PROBLEM 1: Fridge Doors Not Closing
SOLUTION 1: Perform An Inspection
If the doors on your fridge will not close, please check the following:
- Your unit is not overfilled with too many items and nothing is obstructing the door. If something is blocking the door, please remove it or try rearranging the items in your fridge.
- The door gaskets are not warped or damaged. If the gaskets are noticeably damaged, your unit requires service.
PROBLEM 2: Freezer Door Not Closing
General Information:
- If your freezer door is not closing, please verify that it is not misaligned. Also, check to see if the index roller has become unbalanced.
- If either of these have happened, warm air may get into your freezer compartment and may cause frost that will prevent the door from closing properly.
SOLUTION 1A: Realigning The Freezer Door
If you believe that the freezer door is misaligned, please perform the following:
1. Please open your freezer door, and remove the drawers and storage bins.

2. Locate the Auto Close Springs behind the left and right guide rails. Verify that the Auto Close Springs are positioned properly and that the locking pins are in the correct location.
3. If the pins are not positioned properly, please slide both pins (one at a time) toward you and lift them so that they lock into place. The springs should also be extended.

4. Next, please verify that the index roller bar is properly in place. The index roller bar is a piece of metal that spans from one side of the freezer to the other. It anchors and stabilizes the index rollers, which help the freezer drawers properly slide on their tracks.
*If the index roller bar is not properly aligned, please refer to the Reseating the Index Bar section below.

5. If the index roller bar is in place, please reinsert your storage bin and drawers.
6. Start to slowly close the freezer door, but do not close it completely. Please leave it open at least 6 to 8 inches and no wider than 8 inches.

7. Finally, close the door firmly, but do NOT slam it.
IMPORTANT: Use just enough force to ensure the index rollers shift back into place.

SOLUTION 1B: Reseating The Index Bar
If you think the index roller is not properly aligned, please perform the following:
1. Please open your freezer door, and remove the drawers and storage bins.

2. Please verify that the index roller bar is properly in place. The index roller bar is a piece of metal that spans from one side of the freezer to the other. It anchors and stabilizes the index rollers, which help the freezer drawers properly slide on their tracks.

3. If you are unsure if the index roller bar is properly in place, you can test it by doing the following:
- Please reinsert your storage bin and drawers.
- Start to slowly close the freezer door, but do not close it completely. Please leave it open at least 6 to 8 inches and no wider than 8 inches.
- Finally, close the door firmly, but do NOT slam it.
- If it becomes dislodged or falls out, then the index bar was misaligned.

4. If the index roller bar is dislodged or has fallen out of place, please search for and locate the small plastic clip that holds the bar in place. It will most likely be lying on the bottom of the freezer compartment.
5. Please insert the end of the metal rod with the hole into the right index wheel.
6. Then, please insert the other end of the metal rod (without the hole) into the left index wheel.
7. Place the plastic clip into the hole on the right end of the index bar. This clip prevents the bar from sliding back and forth or falling out.
8. After inserting the clip, please tug on the bar slightly to ensure that it is securely in place.


9. Please reinsert your storage bins and drawers.

10. Start to slowly close the freezer door, but do not close it completely. Please leave it open at least 6 to 8 inches and no wider than 8 inches.

11. Finally, close the door firmly, but do not slam it.
IMPORTANT: Use just enough force to ensure the index rollers shift back into place.

PROBLEM 3: Adjust The Refrigerator Doors
SOLUTION 3A: When the Left Door is Lower Than the Right Door
Please insert a flat-blade screwdriver into a notch on the left controller lever. Turn it clockwise or counterclockwise to level the left door until it is even with the other door.

SOLUTION 3B: When the Left Door is Higher Than the Right Door
Please insert a flat-blade screwdriver into a notch on the right controller lever. Turn it clockwise or counterclockwise to level the right door until it is even with the other door.

SOLUTION 3C: When the Doors are Uneven by a Small Amount
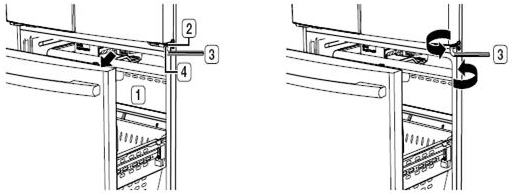
1. When you open the drawer (1), you should see the lower hinge (2).
2. Please insert the supplied hex wrench (3) into the shaft of the lower hinge (4).
3. Please adjust the height by turning the hex wrench (3) clockwise or counterclockwise.

4. After adjusting the doors, please insert the supplied fastener-ring (5) using a pair of pliers (6) in the gap between the hinge-grommet (7) and the lower hinge (8). The number of fastener-rings you will need to insert depends on the gap.

NOTE: Four fastener-rings are enclosed with the refrigerator. The thickness of each fastener-rings is 1 mm (0.04 inch).
PROBLEM 4: Remove the Refrigerator Door Handles
SOLUTION 4: Grasp and Pull
To remove the door handle from your fridge, please grasp the handle with both hands, push sharply upwards, and then pull the handle towards you.
PROBLEM 5: Center Hinged Flap on The Refrigerator Door Does Not Close Properly
SOLUTION 5: Contact Service
If the center flap on your refrigerator door does not line up or close properly, your refrigerator will need service. *

AGENTS ONLY- The issue is the left side door is too low and the tab on the door does not align with the slot on the cabinet. A technician will have to install a 5/8" washer on the hinge to raise the door. Do not share the detail of this with the customer. Just advise them a technician will have to come out and correct the problem. |