|
No title
Question:
Where can I find information on how to properly
mount my Samsung TV?
Answer:
Viewing Distance
To calculate the proper viewing distance, take your TV's size and divide
by 0.55.
Structural Integrity
Your wallmount should be attached to a stud. If you don't attach the mount
to a stud, you can use drywall anchors (toggle bolts) but you need to make sure
the wall can hold the weight of the TV.
Mounting your TV above a fireplace
Your primary concern will be the heat: Samsung TVs should
never exceed 104 degrees Fahrenheit.
Before you even think of mounting a TV
above your fireplace, light a fire and check the temperature first.
Specific to woodburning fireplaces, ash could accumulate
on the TV and its vents.
Putting a TV in the bathroom
We don't recommend that you install your Samsung TV in a bathroom or any
other room with high humidity.
How high to mount the TV?
You can mount your TV 42 inches from the floor to the
center of the TV.
This should meet the approximate eye level of someone who
is 5 feet 6 inches tall sitting on a standard couch.
Depending on the piece of furniture you may be placing
under your TV and the size of your TV, mount the TV about 4 to 6 inches above
the furniture.
(This is about the same height you would hang a mirror above
a dresser.)
Compatible Wall Mounts
Samsung TVs are VESA Compliant and work with any wall mount that is also
VESA Compliant and designed for the TV's size.
We have several wall mounts available
on our Accessories page.
The best part is that the wall mount you purchase comes
with all of the screws, spacers, and washers that you need to install it.
Note: For information specific to your model, see the
user manual for your TV.
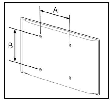
VESA Bolt Patterns in Millimeters (A and B)
100 by 100 (usually 19 22 inch TVs)
200 by 100 (usually 23 29 inch TVs)
200 by 200 (usually 30 40 inch TVs)
400 by 400 (usually 46 75 inch TVs)
600 by 400 (usually 75 inch or larger)

Replacement Wall Mount Screws
The length of the screws varies depending on the thickness of the wall mounting
bracket, if spacers are being used, or if washers are being used.
The thread
pitch, regardless of TV size, is always 1.25 millimeters.
There is always a
universal TV mounting screw kit available as well.
For TVs 19 22 inches, the screw size is M4
For TVs 30 40 inches, the screw size is M6
For TVs 49 88 inches, the screw size is M8

How to mount your TV?
While this can be a fairly easy DIY project, please don't do it all by yourself
and make sure you have someone to help you when it comes time to lift the TV.
Tools needed
These are the tools you'll need:
- Stud finder
- Carpenter's Level
- Phillips head screw driver
- Power Drill
- Pencil
- Universal TV mounting screws
- Inwall power extension (cable management)
If you still experience difficulty to mount your TV, please arrange for a
pressional TV installer to do the installation.
|